MILE米乐

铅封-仪表系列

您现在的位置: MILE米乐 > 产品中心 > 铅封-仪表系列

JCMS007

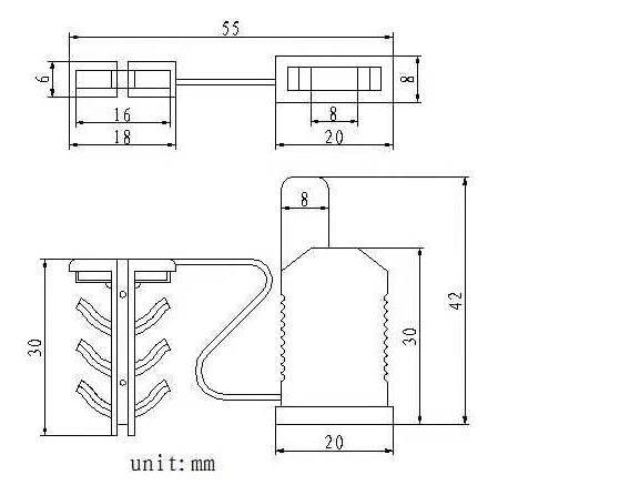
型号:JCMS007
颜色:Customerized
焊丝直径:0.68毫米
证书:SGS ISO9001/14001/18001
印刷:激光打印
标注内容:Logo、编号、二维码
包装:每箱5000件

仪表封JCMS001




编号

JCMS001

JCMS003

JCMS004

JCMS005

JCMS006

JCMS008

JCMS007

JCMS002

锁体尺寸

21*30.2*

6.4

22.5*

22.88*

12.2

20.7*22*
14

25*21.7*

10

37.2*25*

5.8

22.3*25*11

22.3*25*11

20.56*27.4*7.7

材质

  PC+ABS

制造工艺

注塑

标签贴纸

钢丝长度

20cmm可以按客户指定方式定制长度

钢丝直径

0.68mm

颜色

红、黄、橙、蓝、绿等

打标方式

激光,烫印,其他

打标内容

数字、字母、标志、条形码等

用途

电表,水表,气罐,货柜,邮政等

包装

100/包,5000/,可以按客户指定方式定制包装

山东省庆云县MILE米乐锁业有限公司位于山东与京津冀交接的枢纽之城德州市庆云县,公司成立于1990年,2008年正式改名为“MILE米乐锁业”,是中国较早专注于铅封锁具和仓储物流终端产品研发的制造企业之一。自成立以来,发挥行业作用,为封条行业以及仓储物流产业、中国智慧物流发展做出了不菲的贡献。


企业自建厂房占地面积二万多平方米,设备460多台,员工300余名,有高水准的研发团队及高素质的员工队伍。集仪表铅封、一次性封条、高保封、电子铅封、塑料扎带、GPS定位封、周转箱等产品的研发、设计、生产、销售为一体。 经过十多年的发展,已成为规模与影响力的仓储物流终端产品的综合提供企业,企业年产值连续4年2亿元以上。


公司是中国石油、中国海油、中国石化的合格供货商;是国家电网、南方电网的常年供应商;是中铁快运、顺丰快递、京东物流等物流企业的重要合作伙伴。产品适用于铁路、航空、港口、电力、石油、化工、邮政、通信、制药等行业领域。服务网络覆盖至全球市场。 在新老客户中树立了良好的声誉,达成了长期稳定的合作关系。




上一产品:JCMS008

下一产品:JCBS607

其他同类产品


©2018 CopryRight MILE米乐锁业 版权所有 备案号: